下半年的这些新地块值得您的关注如今的新房产品实在太卷了!
扫描到手机,新闻随时看
扫一扫,用手机看文章
更加方便分享给朋友
本期看点
1、 昌平新城地块底价成交未来的产品和价格直接影响隔壁业主的心情
2、 丰台、朝阳两新地上架位置确实不错但多少有点尴尬。
3、 六轮次土地上线不管刚需还是改善多数都是邻铁盘
上周昌平新城东区二期地块被新恩祥睿泽置业底价拿下了,最终这块地将由龙湖操盘售卖,该地块的纯住宅楼面价粗算约为2.38万,比隔壁正在销售的建发观堂府楼面价要更低一些,将来在销售的时候优势也会更大些,地块距离昌平地铁北邵洼站大约为500-600米左右属于纯纯的邻铁盘,对于这个位置来说将来肯定还是面向刚需刚改客群, 周边正在销售的建发观堂府1800套房目前已经卖了1200多套了,户型面积为60-180平米,网签参考价格在4.4万-5.3万之间,所以新拍的这块地您可以大致参考一下,于此同时在好房子时代新地块很可能会配有阳台+设备平台,比起观堂府来说套内使用面积会得到进一步提升,目前昌平已有多个项目进行了这种操作,并且也确实起到了促进销售的作用,假如新地块最终真的搞出了阳台产品并且还跟再售的新房价格差不太多,对于购房人来说肯定算是好事,但是对于之前已经买了的那波客户来说多少就有点扎心了,所以如果屏幕前的您正在该区域看房的我建议稍微等等,看看新产品再做决定。

接下来,丰台岳各庄和朝阳呼家楼两块地在规自委的页面正式挂牌上架了,岳各庄地块在四环里周边整体配套不错,唯一就是离地铁远点差不多3公里左右,朝阳呼家楼地块同样位置也不错守在三环边上,西边挨着首创禧瑞都,地块周边配套那就不用多说了,唯一的问题是这块地住宅部分的面积太少了总共只有5508平米,这么好的位置将来要出大户型的改善或者豪宅产品假设套均180平米最多也就能搞30套,另外这么点的建筑面积园林怎么弄呢,这将来住起来能有好的居住体验吗?反正我个人挺好奇的打个问号,也不知道最后哪家房企会把他拿下,这块地将来真挺考验设计公司水平的,总之9月5号咱们坐等花落谁家。

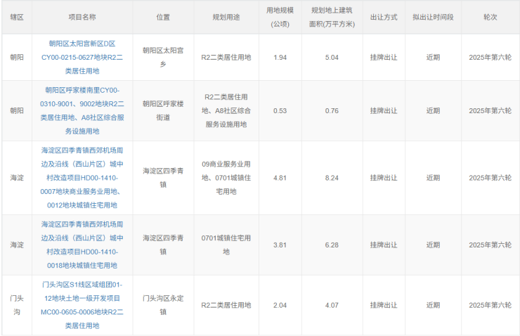
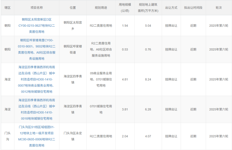
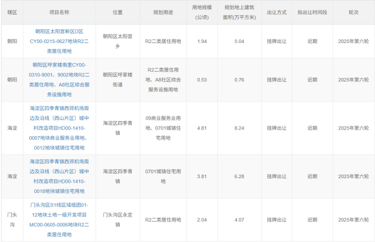
最后规自委6轮次供地也正是上线了,这次一共拿出了朝阳、海淀、门头沟一共5宗地块,其中呼家楼地块已经挂牌上线,剩下的就是朝阳太阳宫地块、海淀四季青地块、以及门头沟S1号线四道桥地块,除了四季青地块到地铁6号线1.6公里左右其他两块地基本都紧挨着地铁,不管是刚需还是豪宅都是妥妥的临铁盘,在如今的京楼市场下地段和配套绝对是硬道理,如果您在以上这些区域有改善置业需求的可以关注下下半年的这几块地。

好了各位咱们下期见
声明:本文由入驻焦点开放平台的作者撰写,除焦点官方账号外,观点仅代表作者本人,不代表焦点立场。







