北京挂牌3宗预申请住宅用地,海淀翠湖地块上架
扫描到手机,新闻随时看
扫一扫,用手机看文章
更加方便分享给朋友
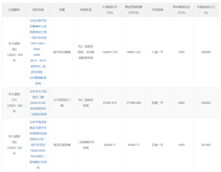
1月12日,据北京市规划和自然资源委员会官网,北京挂牌3宗预申请住宅用地,起始总价约102.5亿元。
根据地块出让信息,3宗地块分别位于海淀区、大兴区以及昌平区,地块总土地面积约19.32万平方米,总建设控制规模约31.19万平方米,总起始价102.5亿元。

3宗地块中,楼面价最高的地块为海淀区地块。北京市海淀区海淀北部中关村翠湖科技园B地块土地一级开发项目HD00-0305-0024地块,用地性质为二类城镇住宅用地,土地面积25268.17平方米,规划建筑面积45482.71平方米,交易起始价25.1亿元,折合起始楼面价55185.8元/平方米,未来商品房销售指导价为8.5万元/平米。
根据地块信息,该地块设定土地合理上限价格288650万元,当竞买报价达到土地合理上限价格时,则不再接受更高报价,转为在此价格的基础上现场竞报“现房销售”面积程序,起始竞报“现房销售”面积为1000平方米,同时本次出让宗地设定有“现房销售”面积上限10000平方米,当现场竞报“现房销售”面积达到设定的上限面积时,转为现场摇号方式确定竞得人,参与现场摇号的竞买人须提交《高标准住宅建设承诺书》。

3宗地块中,起始总价最高的地块为北京市大兴区西红门镇DX04-0102-6035地块,该地块的用地性质为R2二类居住用地,土地面积47035.474平方米,规划建筑面积117588.685平方米,地块起始总价42.4亿元,折合起始楼面价36057.9元/平方米,未来商品住房销售指导价为6.6万元/平。
出让条件显示,地块竞得人需建设邮政所一处,由邮政部门以建安成本价接收,公共厕所一处,无偿移交相关部门。
按照地块出让预申请公告,该宗地设定土地合理上限价格487600万元,当竞买报价达到土地合理上限价格时,则不再接受更高报价,转为现场摇号方式确定竞得人,参与现场摇号的竞买人须提交《高标准住宅建设承诺书》。

另一宗地块为北京市昌平区百善镇中心区西部地块土地一级开发项目CP01-0901-0004、0006、0013、0014地块,该地块的用地性质为R2二类居住用地、A33基础教育用地,土地面积120847.743平方米,规划建筑面积148831.221平方米,地块起始价格35亿元,折合起始楼面价23516.6元/平方米,该地块设定土地合理上限价格402500万元,未来商品住房销售指导价为5.6万元/平。
来源:澎湃新闻
声明:本文由入驻焦点开放平台的作者撰写,除焦点官方账号外,观点仅代表作者本人,不代表焦点立场。







