广州挂牌3宗涉宅用地:起始总价137.47亿元,不设最高限价
扫描到手机,新闻随时看
扫一扫,用手机看文章
更加方便分享给朋友
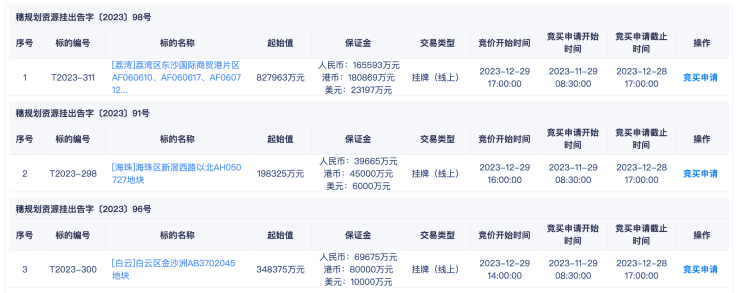
11月29日, 广州市规划和自然资源局发布国有建设用地使用权网上挂牌出让公告,挂牌出让3宗涉宅用地,3宗地块起始总价约137.47亿元。
按照出让公告,3宗地块分别位于荔湾区、海珠区、白云区,3宗地块均未设置土地最高限价,均按价高者得原则确定竞得人,限时竞价时间为2023年12月29日。
其中,海珠区新滘西路以北AH050727地块的出让宗地面积为13323平方米,计算容积率建筑面积为53520平方米,挂牌起始价198325万元,折合起始楼面价37056元/平方米,用地性质为二类居住用地。

荔湾区东沙国际商贸港片区AF060610、AF060617、AF060712、AF060715、AF060720地块为住宅、商业用地,其中,AF060617地块、AF060610地块为二类居住用地R2;AF060712地块、AF060720地块为二类居住用地R2,商业用地B1,商务用地B2兼容;AF060715地块为二类居住用地R2,商业用地B1,商务用地B2兼容交通场站用地S4。该地块计算容积率建筑面积为322004平方米,挂牌起始价827963万元,折合起始楼面价25713元/平方米。
白云区金沙洲AB3702045地块的出让宗地面积为55061平方米,计算容积率建筑面积228158平方米,挂牌起始价348375万元,折合楼面价15269元/平方米,用地性质为二类居住用地。
来源:澎湃新闻
声明:本文由入驻焦点开放平台的作者撰写,除焦点官方账号外,观点仅代表作者本人,不代表焦点立场。







