上下五层独门独院这样的院子生活是您所向往的吗?
扫描到手机,新闻随时看
扫一扫,用手机看文章
更加方便分享给朋友
本期看点
1、 上下五层独门独院这样的院子生活是您所向往的吗?
2、 西黄村地块定名中海瑞文里总价600多万起步
3、 优质的产品有很多带河景的却不多运河玖院以开启排号
4、 改善客户注意啦!懋源底价拿下顺义地块、海淀宝山村地块已报规
5、 太阳宫、门头沟两块地即将激活刚需改善全都有
上周我去大兴采育的兴创荣墅算是体验了两天别墅生活,你别说有大房子的感觉是不一样啊!比如这套430平米的联排合院产品,地上地下一共五层随便耍,一层以餐厅、客厅、厨房组成的生活区为主,南向7.8米的面宽一般的家庭足够用了,二层以客房休息区为主,南向的卧室还有独立的卫生间衣帽间以及开放式的阳台,尤其是上周下大雨那天往阳台上一站,听着雨落下打在房檐上的声音让整个人放空一下,太惬意了!三层一整层都是主人房,卧室、衣帽间、卫生间、书房、露台各种功能空间一应俱全,专治空间不足恐惧症,单一个卫生间都能抵得上一间卧室的面积了,地下两层就更不用说了完全看个人喜好,您是愿意把它做成酒窖、茶厅、还是会客厅影音室,再或者弄个健身房和阅读区,只要你敢想空间足够用,并且每家每户的门前还有个独门独院的小院子,春秋天的时候一家人在自家院子里喝喝茶、烧烧烤或者种种花养养草这种生活方式我相信是绝大多数人的梦想,如果您跟我一样有个别墅梦,打开手机导航兴创荣墅周末带上家人亲自去感受一下。

接下来中海西黄村地块上周案名确定了叫中海瑞文里,户型图目前见到的一共四张,90、110的三居和110、131平米的四居室,目前据说项目对外报价6.8万,按照这个价格计算总价600多万起步,不过我个人觉得按照中海的风格向来是先报个高价试探一下市场,然后再弄点优惠把价格降下来, 所以如果您再京西石景山有改善换房需求的,先去看等看好了真想买了坐下来踏踏实实跟销售谈价格

通州中建的运河玖院上周也开启排号流程,150平米以上30万冻资,126平米以下10万冻资,排号可额外享受两个99折优惠,虽然现在的市场不好但是关注这块地的购房人确实不少,一个是五环外放开了限购的原因,另外一个原因是既有好产品又有优质的河景资源的地块在北京确实不好找,之前哪些宣传自己是河景房的多数都是河沟子,所以买房人都不傻好产品好位置还是有愿意为之买单的。

接下来看看新地块的情况,上周懋源以10.3亿底价拿下了顺义薛大人庄地块, 楼面价约为2.8万,东侧紧挨着的新盘是同为懋源开发的懋源璟雲,目前网签成交价格在7.18-7.38万之间,这个区域里的新房及二手房普遍以大户型产品为主,所以将来这块地的单套住宅建面也不会太小,懋源璟雲的面积段在143-303平米之间,在顺义想买改善产品的您可以参考一下。
另外一个金隅宝山村地块上周正式在规自委页面报规了,社区一共13栋住宅楼全部为6-11层的洋房产品,周边一圈以老破小居多城市界面一般吧,向北不到1公里有地铁6号线廖公庄站向南有阜石路,大型商业要么向西去石景山的山姆和大悦城,要么向东直奔五棵松商圈万达广场,按照楼面价推算将来预计售价8-9万之间,谁让人家占了个海淀的地界呢?
接下来太阳宫0627地块上周也正式挂牌上线了,地块整体控高80米按照目前好房子3.1米左右预估差不多25层左右,其中地块包含7400平米商业用地,扣除商业用地纯住宅的楼面价在7.18万左右,当年中建玖合府的楼面价在8.8万左右,目前区域内的二手房价格在10-13万之间,这个地块将来绝对是大面积的豪宅产品,另外地块还规定了地下空间要与17号线和10号线联通将来可以无缝对接地铁,公共交通出行体验相当的好,总之9月30日我们见分晓。

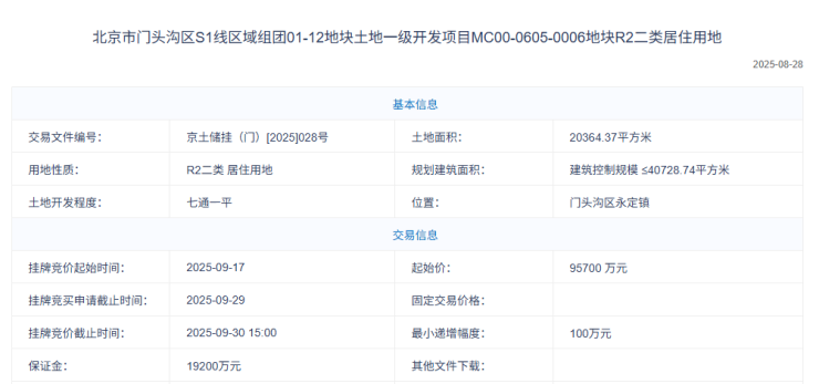
门头沟S1号线0006地块也同步上架了,地块位置在地铁S1号线四道桥站的南侧,地块的西侧挨着峯范北京的东区,当年峯范北京的网签成交均价在5万出头,产品为61-99平米的一至三居,我记得当年的产品南向还是以飘窗为主,北向当时已经出现了落地窗并且把设备平台改成了开放式的阳台产品,如今进入好房子时代假如还出61平的产品那至少也是2居起步了,总之还是值得期待一下的。

好了各位咱们下期见!
声明:本文由入驻焦点开放平台的作者撰写,除焦点官方账号外,观点仅代表作者本人,不代表焦点立场。







