一平涨4000?!被抢空的朱辛庄,新地块来了
扫描到手机,新闻随时看
扫一扫,用手机看文章
更加方便分享给朋友
在11月1号,怀柔地块底价成交后,北京土地市场迎来短暂的20余天“空窗期”。
刚看了下,本月还将有3块地进行竞拍,分别在23号和30号,但地块都不是“硬货”,略有点远...

不过,第三批次拟供应的地块马上就来了!
大热的朱辛庄板块补货!但小道儿听说涨价了...
如果成真,抢到越秀星樾和大华启宸府的小伙伴,岂不是连夜赚翻...
NO.01
一平涨4000?!
朱辛庄0022、0027地块已经上到预申请页面。

师妹听说,这次新地块指导价是6.6万/平米?!
要知道今年3月拍地的越秀星樾和大华启宸府,指导价都是6.2万/平米;
一平差四千,90平户型,一辆奔驰c就差出来了...
越秀星樾,目前期房网签去化率91.88%;

大华启宸府,网签去化率90.24%;

这俩项目分别在4月及9月开盘,当时就被购房人疯抢,目前都已卖完!新地块真要涨了价,这批业主可真就太幸运!
这次即将上新的0022、0027地块紧挨着越秀星樾,距离地铁朱辛庄站约800米左右;


8号线和昌平线是京北重要通勤线路,两站抵达西二旗,去往海淀和中心城区都非常便捷。
另外,之前也有跟大家提到过,朱辛庄自带产业,在板块内有小米产业园、好未来、慧聪、紫光数字经济等产业园区。
生活配套上也很丰富,在地块附近有万达广场、万科TBD、以及在建中的合生汇等大型商场环绕。

区位条件在昌平诸多新房板块来讲,确实很香!
不过6.6万/平米的朱辛庄,不知大家接受度咋样?
毕竟相隔两站地的高教园临铁盘,价格才在5.5万/平...
NO.02
19宗地块待选!
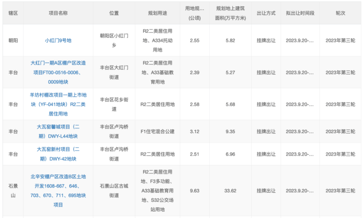
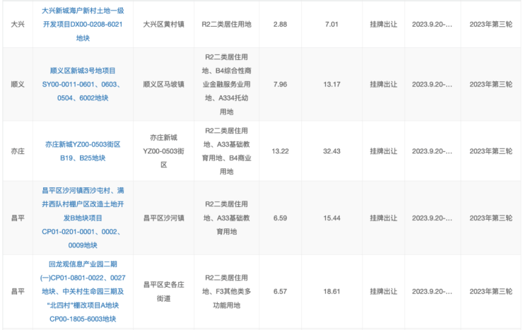
三批次拟供应的19个地块中,朱辛庄地块可以说是热度c位了。
早在9月20号,拟供应清单便已出炉,这些项目将最晚于11月20日前组织发布出让公告。
这几天陆续就要挂出来了。




从地块分布来看,19宗商品住宅用地中位于副中心和平原多点地区的有11宗,土地面积约59公顷,占比59%;
位于中心城区的有6宗,土地面积约23公顷,占比23%;
此外,生态涵养区在本轮次也有2宗新增供地,土地面积约18公顷,占比18%。
具体来看:
丰台区有四宗地供应;
昌平、房山、大兴、临空经济区(大兴)均有两宗地供应;
朝阳、通州、石景山、顺义、亦庄、怀柔、门头沟各有一宗地供应。
海淀没地!
近两年丰台稳坐供应大户交椅,且多数都已改善盘为主,价格不低;
在南边买房,环线仍旧很重要,另外就是地铁配套。
朝阳供应其实也不少,只是到下半年才开始减少放量,但在售中的改善新盘还是扒拉着挑...
21年入市的那批,生不逢时,还在站岗,有些项目已经能降就降了...
想在朝阳上车的小伙伴,大改善看东坝/奶西,刚改看朝阳南近铁盘。
具体到项目不知道咋样,可以评论区留言~随看随回,全盘拖出~
声明:本文由入驻焦点开放平台的作者撰写,除焦点官方账号外,观点仅代表作者本人,不代表焦点立场。







