杭州单价地王再度刷新!滨江区西兴单元地块楼面单价超7.7万元/平米
扫描到手机,新闻随时看
扫一扫,用手机看文章
更加方便分享给朋友
时隔两个月,杭州涉宅用地单价地王纪录再次刷新。
3月25日,杭州市区迎来2025年第五批住宅用地正式出让。根据成交结果,4宗地块全部溢价成交,平均溢价率52%,共计收金101.53亿元。其中,滨江区西兴单元地块由滨江集团以52.03亿元竞得,成交楼面价77409元/平方米,溢价率69.86%,成功刷新杭州单价地王纪录。
根据地块出让信息,此次出让的4宗地块分别位于上城区(2宗)、滨江区(1宗)、萧山区(1宗),出让土地面积119.63亩,起始总价66.83亿元。本次挂牌出让按照价高者得的原则确定竞得人。
本次土拍最受关注的就是滨江区西兴单元地块。地块信息显示,杭政储出[2025]18号地块即滨江区西兴单元BJ030102-25地块,该地块东至养正巷,南至滨盛路绿化,西至新建设河绿化,北至奥体街。地块出让土地面积23145平方米,出让地上建筑面积67219.5平方米,出让起始价306340万元,折合起始楼面价约4.56万元/平方米。
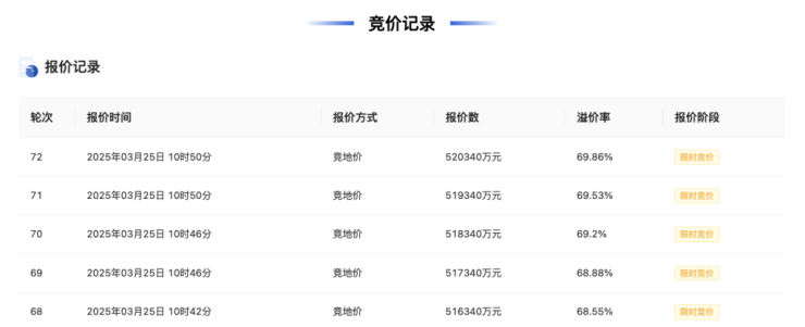
竞价记录显示,该地块经过72轮竞价后,由杭州滨江房产集团股份有限公司以总价520340万元摘得,折合成交楼面价77409元/平方米,溢价率69.86%。该地块成交楼面价刷新了杭州涉宅用地成交楼面价纪录。

中指研究院华东大区常务副总高院生指出,时隔2个月杭州再度刷新地王纪录,该地块成交楼面价超过之前滨江集团于1月24日竞得的湖墅单元GS0201-R21-05地块(成交楼面价为64834元/平方米),预计项目新房价格在12万元/平方米左右。
杭州贝壳研究院院长上官剑指出,本次新地王诞生并不意外,该地块可以看到城市阳台、大金球、莲花碗和一线钱塘江景。地块周边二手房如壹号院、金茂府,大面积房型的均价普遍在10万元/平米以上。该项目或将成为杭州新房的天花板。

同日,滨江集团还竞得上城区四堡七堡单元地块。地块信息显示,杭政储出[2025]16号地块即上城区四堡七堡单元JG1404-29地块,东至规划红普路,南至引水河,西至潮声路,北至谊秀弄。该地块出让土地面积24272平方米,出让地上建筑面积60680平方米,出让起始价188812万元,折合起始楼面价3.11万元/平方米。
地块竞价信息显示,经过65轮竞价后,杭州滨江房产集团股份有限公司以总价253812万元竞得地块,成交楼面价约41828元/平方米,溢价率34.43%。中指研究院监测数据显示,该地块比隔壁招商蛇口地块楼面价提升4198元/平方米,预计新房价格在6万元/平方米左右。
此次上城区共推出2宗住宅用地,另一宗为杭政储出[2025]17号地块,该地块为上城区城东新城单元SC080201-03地块,东至规划道路,南至规划道路,西至环站西路,北至规划道路。按照地块信息,该地块出让土地面积21335平方米,出让地上建筑面积53337.5平方米,出让起始价149666万元,折合起始楼面价2.8万元/平方米。
该地块经过29轮竞价后,由绿城旗下杭州浙珩置业有限公司以总价214666万元竞得,成交楼面价约40247元/平方米,溢价率43.43%。
萧山区地块为蜀山单元蜀山西片区XS150102-05地块,东至崇化路,南至金家河及沿线绿化带,西至规划杭齿二路,北至规划杭齿三路。地块信息显示,该地块出让土地面积11002平方米,出让地上建筑面积15952.9平方米,出让起始价23451万元,折合起始楼面价1.47万元/平方米。
地块竞价信息显示,该地块经过7轮竞价后,由浙江杰立房地产开发有限公司以总价26451万元竞得,成交楼面价约16581元/平方米,溢价率12.79%。
高院生指出,本次土拍市场热度攀升,整体平均溢价率52%,其中西兴单元地块溢价率69.86%,成为杭州宅地新单价地王;浙系企业持续加码优质地块,滨江集团斩获西兴单元和四堡七堡单元2宗地块,绿城中国竞得城东新城单元地块,浙江杰立竞得蜀山单元地块;未来杭州新房市场或进一步呈现“核心区豪宅化”格局。土拍市场地王频出,进一步重塑杭州价格体系,对楼市止跌回稳具有积极意义。
上官剑表示,今年杭州小阳春的热度很高,二手新签单量同比上涨57%,带看量同比上涨127%,新房网签同比增加12%,本次新地王的诞生,不亚于一次新政的出台,会给市场再添上一把火,尤其是改善板块的次新项目,短期或将进一步带动量价齐升。
来源:澎湃新闻
声明:本文由入驻焦点开放平台的作者撰写,除焦点官方账号外,观点仅代表作者本人,不代表焦点立场。







