昔日的王者变青铜 朝青这次也要拉胯了
扫描到手机,新闻随时看
扫一扫,用手机看文章
更加方便分享给朋友
本期看点
1、 昔日的王者如今也要变青铜朝青这次也要拉胯了!
2、 同在一栋楼价格能差500-600万,海淀臻澐即将开盘
3、 京楼土地再上新五轮次供地就要来了。
上周朝青的两个新盘项目一个取证并开放了116和130的样板间,另一个算是开盘了吧,朝观天珺网传卖了100来套的样子,打听了下实际是认筹大约120套左右,最终能签进来多少还要看最终的网签数字,我个人觉得一半吧,这次保利的房子低点的价格卖到8.2万左右高的卖到8.5万左右,另外一个金茂满耀取了证并开放了新的样板间,开盘时间没定主要还是蓄客量的问题,现在暂定的是在6-10号之间,我跟业务员打听到的消息是,低楼层小户型的大概在7.6左右,大户型高楼层的预计在8.1-8.2左右,整体的均价预计在7.8万左右,开盘应该还会有点优惠,这个价格如果确定下来那可就把周边保利的新盘连同二手房一起都给卷了,那为什么最近朝青也开始拉胯了呢?对于购房人来说不是现在的房子不够好,而是现在的市场确实很难让人下定决心,即便我是自住为主我也不希望买了以后就赔钱的,就好比区域内卖掉的和光煦境和玺悦朝阳,当年开盘时候卖的那叫一个火爆,期房网签均价在8.3万左右,如果跟现在的这两项目比起来,产品没有现在的好价格也没有现在的优,假如将来都变成二手房还是现在这种市场,如果天珺和满耀两项目说要卖8万之前那两个项目敢卖8万吗?所以如果您在朝青有自住需求我建议还是先以金茂的为主,毕竟在现在的楼市环境下价格是王道!

海淀的臻澐上周预售证也出来了,开盘时间也没确定预计是在10号左右同样也是要看认筹情况,现在认筹小户型是50万大户型是100万,前期认筹客户可以享受优惠2个点,另外认筹客户还可以额外送一年的万象汇黑金会员卡,本次取证房源523套各楼栋房源基础得房率不算赠送在79-82%之间,另外这次臻澐的定价价差也很大,普遍单楼层价差大于1000元以上,,200平以上价格一层和次顶层能差出500-600万,这价差属实不低呀!

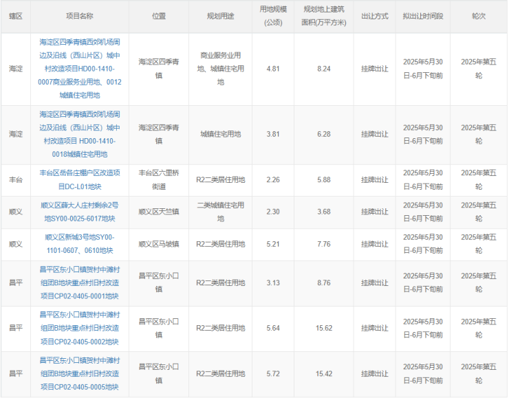
最后北京市规自委上周又上架了今年5轮次的供地计划,一共8宗地昌平3宗,海淀、顺义各2宗,丰台1宗,其中海淀、昌平、丰台地块的位置都还算可以,如果您在以上区域有购房需求可以关注一下。

好了各位咱们下期见。
声明:本文由入驻焦点开放平台的作者撰写,除焦点官方账号外,观点仅代表作者本人,不代表焦点立场。







