23宗宅地要来了!北京发布第二轮拟供地项目清单
扫描到手机,新闻随时看
扫一扫,用手机看文章
更加方便分享给朋友
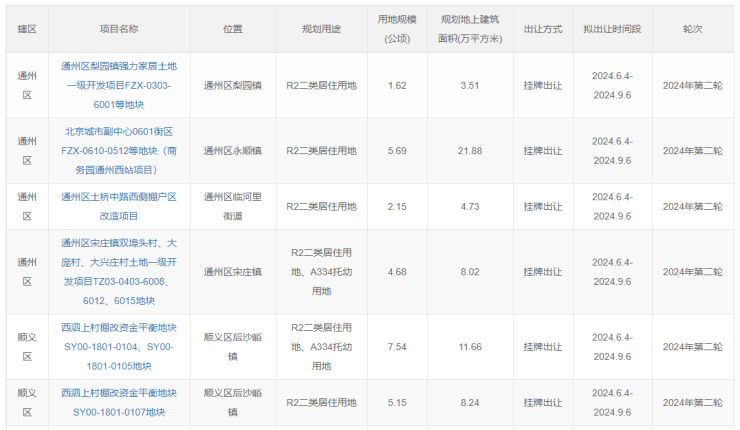
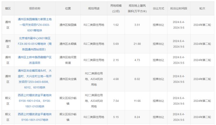
6月4日,北京市规划自然资源委网站发布2024年度第二轮拟供应商品住宅用地清单,共涉及23宗用地,土地面积约122公顷,建筑规模约243万平方米。据悉,清单内项目将于今年6月4日至9月6日供应。
新京报记者注意到,23宗宅地中,有4宗位于通州区,丰台、大兴、顺义区各有3宗,朝阳、昌平、房山区各有两宗,海淀、石景山、门头沟和延庆区各有1宗。





其中,朝阳区永安里旧城区改建项目和小红门项目9号地关注度较高,海淀区也有永丰产业基地地块列入清单,尤其是朝阳区永安里旧改项目位于东二环和东三环之间的建外大街旁,紧邻地铁永安里站,属于北京稀缺的“寸土寸金”的位置。
从推出地块看,按照城市总体规划“梯次承接、有序疏解”要求,本轮加大向城市副中心及多点地区的供应力度,占比达七成,共14宗87公顷;中心城区共7宗31公顷;生态涵养区共2宗4公顷。同时,23宗用地中,八成以上位于轨道站点周边等交通便利及配套成熟的地区,更加促进站城融合、产城融合与职住平衡。
北京市规划自然资源委相关负责人表示,北京将主动适应房地产市场供求关系发生重大变化的新形势,坚持规划引领、坚持以需定供,均衡有序做好商品住宅用地信息发布与供应工作,稳定市场预期,为首都经济社会高质量发展提供要素保障。
来源:新京报
声明:本文由入驻焦点开放平台的作者撰写,除焦点官方账号外,观点仅代表作者本人,不代表焦点立场。







