新盘集中入市 各家有各家的高招 现在的新房产品太卷了!
扫描到手机,新闻随时看
扫一扫,用手机看文章
更加方便分享给朋友
本期看点
1、热门新盘样板间集中开放各家有各家的高招产品实在太卷了?
2、规自委上架新地八里桥地块关注老城区的可以等一等
3、通州缦云ONE再上新只要有实力住着肯定没毛病
上周开放样板间的项目是真不少,永丰南海开的颐海澐颂样板间正式对客户开放了,现场做了117、137和166三个户型的样板间,总的来说最终呈现的效果确实还不错,比如窗户的窗套全部用金属进行包边并且做了极窄边设计,兼顾了美观和实用性,除卧室、厨房、卫生间以外其他区域墙面都用木饰面做了包裹,同时在主要位置还做了圆弧形的设计避免老人和孩子的碰撞,客厅的落地窗采用了旭格的系统窗,同时还做出了香山樾同款的一步台设计,可以让业主更好的与室外空间相接触,再有为了凸显自身的用心不同屋子用到了不同的壁布,并且同一间屋子也用到了不同的壁布,让装饰风格变得不再单一,地面采用了简一无缝铺贴技术客厅整体看起来更像是一整块砖铺在地上,提升了房屋品质感,这波操作是真的赞。
昌平朱辛庄的星耀未来样板间也开了,现场一共做了仨92、107还有132的,自从朱辛庄的新房配上了黑科技加上区域内基础配套设施日益成熟,使得这里的新房关注度直线上升,再有项目还有少量70多平户型能够让上车朱辛庄的门槛进一步降低,另外对于准业主纠结的到地铁站的距离问题,开发商也给解决方案,暂定提供了3年的免费社区班车方便业主通勤过渡,价格方面虽然指导价是6.6万但很可能会拿出更多的优惠,比如出点低于6万的价格来吸引购房者,总之星耀未来值得去看看。
海淀功德寺的和樾望雲在上周工作日的最后一天取得了规证,并在周六正式开放了98和139的两个样板间,对于想在海淀上车小户型产品的朋友来说务必抓住机会,大概率中小套型的产品开盘就光有需求的就别犹豫了。
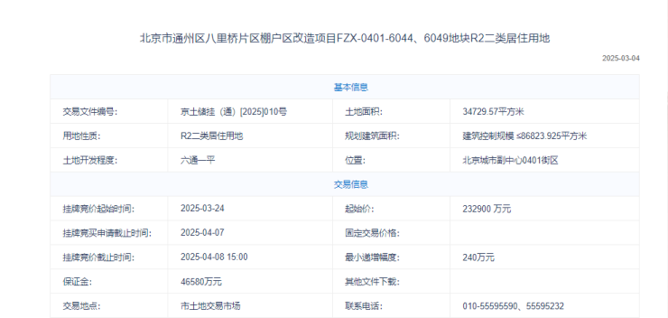
上周规自委的页面又上架了通州八里桥地块,位置在通惠河的北侧挨着八里桥水产品市场,正式的拍卖时间放在了4月8日,在老城区有购房计划的朋友您可以关注下。

最后通州的缦云ONE上周加推了4号和9号楼共计50房源,户型面积为262平米的大四居产品,已取证房源截止目前网签率已经接近50%,按照6.95万的网签均价计算总价至少1800万起步,之前我去样板间看过品质还是不错的,总之如果您具备这样的实力这种房子住着绝对没毛病。

好了各位咱们下期见!
声明:本文由入驻焦点开放平台的作者撰写,除焦点官方账号外,观点仅代表作者本人,不代表焦点立场。







