北京发布首批明年拟供住宅用地清单:为市场主体投资决策预留充足时间
扫描到手机,新闻随时看
扫一扫,用手机看文章
更加方便分享给朋友
来源:澎湃新闻
记者 刘畅
12月30日,北京市规划和自然资源委员会发布《关于发布2023年部分拟供商品住宅用地项目清单(第一批)的公告》,以进一步优化营商环境,稳定市场预期,提高市场透明度。
第一批清单中项目共计17宗,涉及9个区,建设用地面积74万平方米,建筑规模约157万平方米。从空间分布看,中心城区6宗28万平方米,占比35%;平原多点地区(含副中心)10宗39万平方米,占比59%;生态涵养区1宗7万平方米,占比6%。


从环线位置看,位于四五环之间4宗19万平方米,占比24%;位于五六环之间7宗25万平方米,占比41%;位于六环以外的6宗31万平方米,占比35%。从交通及配套情况看,近五成位于轨道站点周边,近六成位于三城一区或产业园区周边。
北京市规划和自然资源委员会表示,2023年将根据年度供地计划,分批次公布未来一定时间段内拟出让的商品住宅用地项目清单,让市场主体全面掌握土地供应状况,为其投资决策预留充足时间并提供参考。
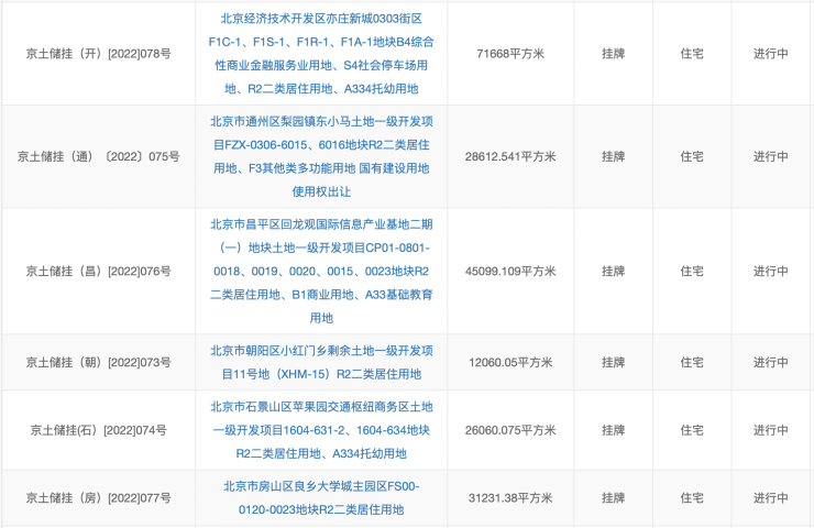
同时,北京发布2022年度第五批次商品住宅用地出让公告,共计6宗,用地规模约22万平方米,地上建筑规模约53万平方米,总起始价122.52亿元,将于2023年2月上旬集中成交。6宗地块分别位于经济技术开发区1宗、朝阳区1宗、石景山区1宗、通州区1宗、昌平区1宗、房山区1宗。
北京市规划和自然资源委员会表示,第五批次供地继续坚持“多管齐下”保障住房品质,设置竞“现房销售”面积环节以保护购房者权益,沿轨道交通沿线布局以实现职住平衡,全方位满足市场主体需求,支持刚性和改善性住房需求,切实兜牢民生底线,提升人民群众幸福感、获得感、安全感,推动落实保交楼、保民生、保稳定目标。从空间分布看,中心城区2宗4万平方米,占比33%;平原多点地区(含副中心)4宗18万平方米,占比67%。


部分企业表示,北京同时公布2022年第五批次出让公告,以及第一批2023年拟供商品住宅用地项目清单,既让市场看到了首都北京充足的土地储备,稳定了市场预期,提振了市场信心,也提升企业获取信息便利度,让企业更早、更全面的掌握土地供应信息,为企业预留了充足的投资决策时间,可以提前为明年的购地计划谋篇布局,做出理性判断,有效的促进首都房地产市场平稳健康发展。
相关负责人表示,北京土地市场将始终以满足人民群众对美好生活的向往为目标,完整、准确、全面贯彻新发展理念,统筹发展和安全,同时深化供给侧结构性改革,以首善标准服务市场主体,持续优化营商环境,打造公开透明的市场环境。土地供应将继续坚持规划引领,循序渐进、持续推进,清单内的项目将有序组织出让工作,后续项目清单也将结合市场形势适时发布,同时供地中将不断完善政策工具,以增进民生福祉,提高人民生活品质,着力推动首都高质量发展。
(添加好友“pinfang6666”,免费领取购房资料包,还有资深专家整理的北京新房买房攻略。)
声明:本文由入驻焦点开放平台的作者撰写,除焦点官方账号外,观点仅代表作者本人,不代表焦点立场。







