北京发布2024年第六轮拟供项目清单,6宗宅地共计26公顷
扫描到手机,新闻随时看
扫一扫,用手机看文章
更加方便分享给朋友
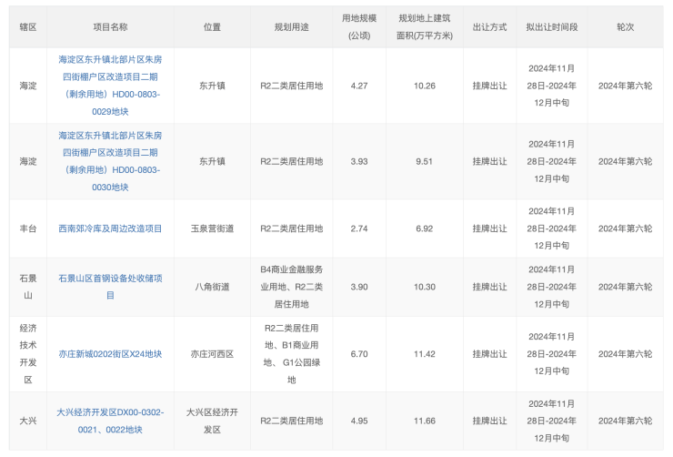
11月28日,北京市规划和自然资源委员会网站发布了2024年度第六轮拟供应商品住宅用地清单,共涉及6宗地,土地面积约26公顷,建筑规模约60万平方米,上述项目将于2024年12月中旬前供应。
从地块区位来看,位于中心城区项目4宗,分别为海淀区2宗,丰台区、石景山区各1宗;位于多点地区项目2宗,分别位于大兴区及经济技术开发区。
上述项目中关注度最高的海淀朱房2个项目已发布出让公告,土地总面积约8.2公顷,建筑规模约20万平方米,规划用途为二类居住用地,起始价格分别为78亿元及72.3亿元。两个项目位于海淀区东升镇,地处北五环至北六环间,临近地铁13号线上地站、清河火车站,交通便利,周边教育、医疗及商业等配套资源丰富。值得一提的是,两宗地块均未设置地价上限,也未设置未来商品住房的销售指导价。两宗地块的起始楼面价均超7.6万元/平方米。

此外,丰台区西南郊冷库及周边改造项目位于丰台区玉泉营街道,地处西南三环以内、玉泉营桥西北角,紧邻地铁10号线、19号线、大兴机场线换乘站草桥站,交通十分便利。项目距丽泽金融商务区1公里,周边教育、医疗及商业配套资源丰富。

石景山区首钢设备处收储项目位于石景山区八角街道,地处西五环外,邻近未来规划的轨道交通站点,交通条件较为便利。项目周边有三甲医院,且商业配套较为丰富。
大兴经开区DX00-0302-0021、0022地块位于大兴区观音寺街道,地处南五环与南六环之间,距南五环约1公里,邻近未来规划的轨道交通站点,交通较为便利,周边教育、医疗及商业等配套资源较为丰富。
经济技术开发区X24项目位于亦庄河西区,地处南五环外,附近有北京二中经开区学校等多所教育资源,西南侧有龙湖北京亦庄天街,配套设施齐全。
来源:澎湃新闻
声明:本文由入驻焦点开放平台的作者撰写,除焦点官方账号外,观点仅代表作者本人,不代表焦点立场。







