20余个新盘即将"上链接",2024年北京楼市有哪些看点?
扫描到手机,新闻随时看
扫一扫,用手机看文章
更加方便分享给朋友
2024年开年,在售项目热度回升的同时,北京楼市也迎来不少新面孔。1月4日,2024年首场土拍成功出让4宗地块;1月7日,巨燕置业获取的房山区阎村地块官宣案名——巨燕·燕京府,成为今年首个发布案名的项目。
此外,2023年出让的61宗住宅用地还有20多宗未公布案名,将与新成交地块在今年同台竞技。2024年在北京买房,可以多看看哪些区域?购房人有哪些新选择?热门项目又会出自谁家?
大瓦窑双子顶格成交 丰台将迎7盘争辉
2023年北京土拍场上,丰台区多个地块成为“热度担当”,其中,4宗触达地价上限,以摇号定买家。1月4日,丰台区大瓦窑双子同样以上限价格成交,中建信和与京能分食两宗地块。

从位置来看,大瓦窑地块紧邻地铁14号线大瓦窑站与京港澳高速,与西四环主路直线距离不足4公里,交通便利,且周边配套成熟。分地块来看,L44地块较为方正,L42地块则呈三角形,不过L42地块为纯住宅用地,L44需配建公建。
上述地块销售指导价为83000元/平方米,周边在售新房有国誉万和城、首创天阅山河等,在售均价高于80000元/平方米,稍远处北京城建·宸知筑在售均价约73500元/平方米。
和大瓦窑双子直线距离约8公里的郭公庄双子也曾是热门地块,两宗地分别以54.4亿元、75.9亿元价格归属中海与中建东孚。随着上述两宗指导价92000元/平方米的地块成交,郭公庄进入“9万+”时代。
郭公庄双子同样享受地铁便利,可快速通达六里桥、丽泽金融商务区等区域。同时,地块临近中关村科技园丰台园、总部基地,享受产业红利,附近有永旺梦乐城、万达广场、天坛医院等,配套较为丰富。
从周边市场来看,郭公庄地块附近改善型新房不多,京投发展·臻御府、中铁诺德·春风和院、中铁诺德·逸府等项目为限竞房。附近在售二手房有京投银泰万科西华府、中海九号公馆、首开华润城等项目,贝壳找房数据显示,首开华润城部分房源挂牌价已超94000元/平方米。
相较于郭公庄地块,羊坊板块则具有一定价格优势。1月4日,羊坊041地块被中建壹品摘得,销售指导价72000元/平方米,与2023年6月份成交的020地块销售指导价相同。
目前,020地块转化的招商·臻园对周边客群形成了一定吸引力,成交均价64111.97元/平方米。尽管羊坊地块小区域配套与郭公庄地块有差距,但直线距离不足4公里,却有20000元/平方米的差价,给了羊坊地块多一重竞争“筹码”。
上述地块之外,丰台区还有两宗地块未公布案名,分别为东方雨虹拿下的南苑地块与华润大红门地块。
其中,华润大红门地块占据四环内、南中轴、首都商务新区等优势,且周边已有永定金茂府与中海和瑞叁號院等高端改善项目,形成聚集效应,吸引十几家企业摇号。该地块销售指导价95000元/平方米,永定金茂府与中海和瑞叁號院成交价均在93000元/平方米左右。
东方雨虹获取的南苑地块同样顶格成交,销售指导价78000元/平方米。拿地后不久,东方雨虹发布公告称,将该地块项目公司95%股权进行转让。天眼查信息显示,上述交易买方苏州竹辉为中海企业发展集团成员,是一家以从事房地产业为主的企业。2023年12月,北京市规划和自然资源委员会丰台分局已对项目规划设计方案进行了公示,目前暂未有新动态。
房山热门区域新盘“扎堆”
丰台区的热闹之外,房山区也有不少呼之欲出的项目。但与丰台不同,房山区几宗地块相距不远,加上此前已经入市的部分项目,形成了扎堆抢市场的态势。
1月4日,房山区拱辰街道0018地块底价成交,买方为北京城建。而在半月之前,北京城建斩获了长阳镇北广阳城地块。两宗地块直线距离仅3公里左右,形成“抱团”之势。
在北京楼市版图中,房山区有着“价格洼地”的印象。不过,伴随一系列规划落地,近几年房山区不乏热门区域、热门项目。其中,良乡大学城、长阳等板块因丰富配套吸引不少置业者,新成交地块也多在这些热门板块周边。这也意味着新房市场竞争力度不小。
从位置来看,除巨燕·燕京府地块外,目前待入市的北京城建北广阳城地块、北京城建拱辰0018地块与山西金汇海拱辰地块大概呈三角形排布,且每两宗地块直线距离都在3公里以内。不同的是,北京城建北广阳城地块与山西金汇海地块临铁优势更明显。
不过,市场的竞争并不限于上述3宗地块。山西金汇海地块紧邻的中建学府印悦、临近良乡大学城地铁站的中建房山·国贤府,相距不远的春和印象,都是区域内关注度比较高的新房,且可售房源充足。二手房方面,加州水郡、碧桂园以及长阳地铁站周边多个成熟社区也有不少房源在售。
大兴4盘待入市 昌平项目受期待
在北京城南行动计划、大兴国际机场等一系列利好下,大兴区迅速崛起,西红门、黄村等多个板块更是成为北京楼市热门区域。
截至目前,大兴区有4个项目即将入市。其中,黄村地块位于地铁4号线枣园站以东,与大兴机场线大兴新城站直线距离约2公里。该地块被中铁与兴创联合拿下,业内猜测可能将推出中铁兴创逸境二期。项目附近还有中骏金辉未来云城、大兴星光城、绿地海珀云翡等项目在售。
大兴新城地块位于芦求路以东,临近北京建筑大学大兴校区,目前地块周边配套尚不完善。该地块与大兴城建联合中建三局城投获取的兴城之星项目为邻,销售指导价均为50000元/平方米,且兴城之星也未开盘。
位于大兴机场临空经济区的两宗地块作为机场周边职住平衡类用地,或将对机场周边通勤客群形成吸引力。业内认为,两宗地均有北京新航城的参与,其区域开发经验对项目也是一重利好。
伴随“海淀向北”的节奏,昌平区也频频出现热门项目。截至目前,昌平区有2个项目等待入市。其中之一是“中海+未来科学城”获取的昌平国际信息园地块。该地块临近曾引发土拍场上“史诗级摇号”的大华·启宸府项目。
从市场表现来看,大华·启宸府去化不错,越秀·星樾期房部分即将清盘,现房还未入市。业内预计新项目将为周边置业者提供新选择。不过,新地块公建混合用地体量较大,考验到操盘难度,最终将呈现怎样的产品颇受关注。
上述地块之外,北京建工昌平沙河地块,以及位于石景山、北京城市副中心、怀柔、密云、顺义、平谷等区域的共8宗地块还未公布明确项目信息。
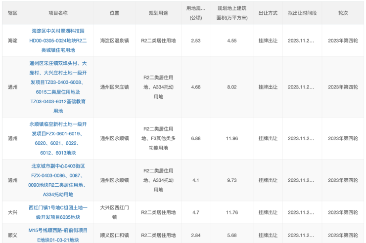
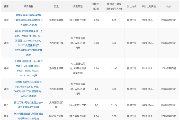
而根据此前发布的北京市第四批拟供应商品住宅用地清单,今年2月底之前,北京还将有13宗地块进行出让,海淀、通州、大兴、顺义、昌平、房山、亦庄新城等区域都将上新,这些项目的入市,又将拉开区域新房市场的新一轮比拼。



来源:央广网
声明:本文由入驻焦点开放平台的作者撰写,除焦点官方账号外,观点仅代表作者本人,不代表焦点立场。







