石景山新增不限价地块 长安云尚总价320万
扫描到手机,新闻随时看
扫一扫,用手机看文章
更加方便分享给朋友
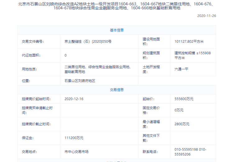
11月26日,北京市规划和自然资源委员会官网新挂出一宗地,该宗地块名称为:北京市石景山区刘娘府综合改造A2地块土地一级开发项目1604-663、1604-667地块二类居住用地、1604-676、1604-678地块综合性商业金融服务业用地、1604-666地块基础教育用地,地块位于石景山区刘娘府,起始价55.56亿元,地块将于12月30日竞拍,其中居住用地为不限价地块。

从用地性质看,较为复杂,有二类居住用地、综合性商业金融服务业用地和基础教育用地。从位置上看,与石景山的别墅项目远洋天著春秋相隔不远,目前远洋天著春秋已经基本售罄,周边自然环境不错,居住舒适度较高,自驾出行可以选择西五环和阜石路。至于将会是哪家开发商摘得,我们拭目以待。(咨询购房专家买房问题请添加小助理微信号:goufang03 有问必答!)

纵观石景山楼市,目前待入市的地块均为不限价地块,限竞房市场所剩房源基本不多了,还有五里坨的翡翠山晓可以选一选,其他的基本已经售罄,或者是剩下叠拼产品。那么刚需族还有哪些选择?今天给大家介绍三个楼盘,还有小户型,感兴趣的朋友可以看一下。
长安云尚
提起石景山古城,那可是今年的大热版块,房价也达到7万+,这个板块内新房扎堆,产品以改善大户型为主,所以总价并不便宜。长安云尚就是这个版块内的成员之一,不过主推中小户型,上车门槛就低了很多。项目规划为8层洋房社区,目前一期二期均已加推,剩余房源为49-67平1-2居,总价320万/套起,十分适合刚需族上车。
67平两居:该户型浪费面积小,建筑面积67平,客厅面宽做到了3.45米,室内采光还是不错的。餐厅和厨房自然衔接,使用起来十分方便。卫生间干湿分离,适合小两口居住。
中海天钻
中海天钻距离1号线古城地铁站更近,约200米左右,出行十分方便,周边有地铁,可以为上下班节省不少时间。项目规划8栋住宅楼,共计642套房源,一期已经开盘,顺销中,产品有88-167平3-5居,户型梯度大,从刚需到改善的需求都能满足。了解北京新房的朋友应该都知道,不少网红户型都出自中海之手,而中海天钻的户型同样亮点十足:
解析:三面宽朝南设计,动静分区,进入户门之后,穿过餐厅就是客厅,在同一侧,也是活动区域,三个卧室在另一侧,避免打扰,卫生间是明卫,很好的比较潮湿,通风性好。这个户型一眼看过去就是方方正正,浪费面积小。
长安九里
长安九里直线距离古城地铁站约400米,比较适中。该项目分三期开发,已于11月21日加推三期,本次加推172套房源,产品有86平两居,120三居,150平四居,单价72000元/平左右。小区规划12栋住宅楼,共计931套房源,预计2022年带装修交付。项目由华润置地、电建地产联合开发,其中86平两居比较适合对地段有要求的刚需朋友。

该项目是华润的高端产品系——九里系,整体的品质还是值得期待的,产品方面也做了区分,从八十多到一百五的户型都有,距离地铁适中,整体售价在7万左右,感兴趣的朋友可以去售楼处参观样板间,具体了解。
总结
石景山在今年着实火了一把,古城几个纯商品房的入市拉动了整个市场。目前待售地块还有北辛安地块,也称中海寰宇天下四期,还有西黄村版块的禧悦学府二期,均为不限价地块,整体来看,主要面向改善人群,但是也不乏有些小户型产品的项目,想要上车的朋友可要抓紧了。(咨询购房专家买房问题请添加小助理微信号:goufang03 有问必答!)
声明:本文由入驻焦点开放平台的作者撰写,除焦点官方账号外,观点仅代表作者本人,不代表焦点立场。







