位置不错楼面价不高这五宗新地哪块适合您?
扫描到手机,新闻随时看
扫一扫,用手机看文章
更加方便分享给朋友
本期看点
1、 即便是浓眉大眼的海淀这回也“熄火”了!
2、 通州0101街区底价成交据说产品还不赖。
3、 西黄村地块配套不错未来这地方挺适合住。
4、 昌平地块底价成交楼面价仅3万未来竞争力还挺大!
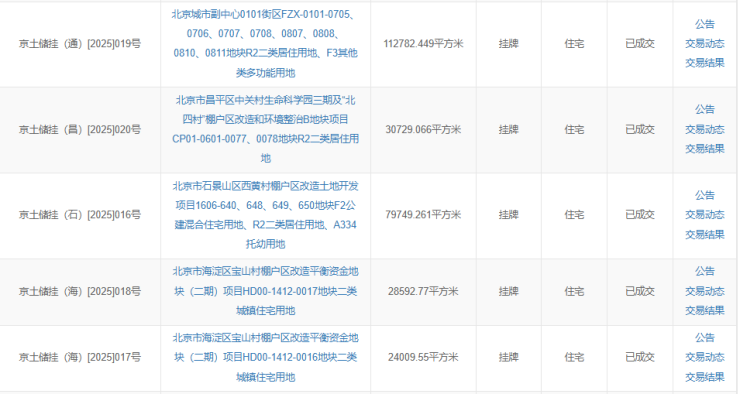
上周京楼市场一口气成交了5宗新地,虽然量是有了但是热度明显没有以前高了,海淀的宝山村地块按说应该是5宗地里热度最高的,但是万万没想到浓眉大眼的海淀这回也“熄火”了,宝山村的两块在起拍后没多久就以1.76%和1.48%的溢价率草草了事被中建壹品和金隅摘走了,最终两宗地的楼面价只有5.68和5.72万,跟今年1月初北五环朱房地块9.5万的楼面价形成鲜明的对比,这也是近些年海淀楼面价最低的一次了,不过反过来想想我觉得这事其实也挺好,尤其是对在西边有明确改善换房需求的家庭来说,将来房价能更低一些没准卖个9万左右就能下来了,同时也能保证产品做的更好一些这不挺好嘛!当然了也不排除开发商还会给出更高的价格,那至于购房人买不买账就要交给市场了,你们看现在朝阳的三间房不就是个很好的例子吗,另外宝山村地块也确实存在教育资源和商业配套资源不完善的问题,我估计针对这两点开发商肯定会在价格和产品上下功夫以弥补地块自身的不足。

通州运河0101街区上周被中建玖合底价拿走了,地块位置不错就在运河边上整个大地块分为了7块小的住宅用地,土拍刚结束我就跟项目的业务员聊了聊,按照业务员的话说这次的产品做的特别好,我试探的问了问是不是前后落地窗配大阳台业务员冲我一笑,总之项目预计在本月底或者下月初就有消息了,总之您在通州有购房需求想买个正八经的河景房,可以等等中建的产品。

接下来是石景山西黄村地块,最终还是中海新城站出来托底把该地块底价拿走了,要说西黄村地块的配套还是正经不错的,出门有地铁6号线路对面有物美超市,西边和南边分别是苹果园中学和石景山外语实验小学,周边还有石景山大悦城和山姆会员店,总的来说配套还是很不错的唯一的问题是周边围了一圈老破小,周边越秀天玥期房的网签成交价格在7.1万左右,现房成交价格在6.4万左右,在石景山有购房需求的您可以参考一下。

最后是昌平生命科学园三期地块,最终被越秀+城建+未来城+贝好家四家联合体底价拿走了,地块的位置在昌平线生命科学园站北边大约1.4公里处,同时西边还有规划的19号线生命谷站,南侧有超级合生汇地铁一站地坐到朱辛庄还有万达广场,周边的商业配套还算是齐全,该地块的楼面价仅有3万还是具备一定的价格优势的,未来售价很可能5万+的价格就能下来了,有地铁有商业同时还有价格的优势未来售卖的时候竞争力还是挺大的,有购房需求的可以关注下。

好了各位咱们下期见。
声明:本文由入驻焦点开放平台的作者撰写,除焦点官方账号外,观点仅代表作者本人,不代表焦点立场。







