丰台网签第二名这个有小户型的新盘最近开挂了!
扫描到手机,新闻随时看
扫一扫,用手机看文章
更加方便分享给朋友
本期看点
1、 丰台网签第二名这个有小户型的新盘最近开挂了!
2、 岳各庄、呼家楼两地块底价成交。
3、 北京七轮次地块上架几乎都临铁这盘菜是真的硬!
八月的网签数据出来了我以每月25号对25号来统计,丰台区域卖的还算不错单月网签能超过30套以上能拿的上台面的就仨,一个是新宫板块的建发观宸以单月网签44套的成绩排在第一位,另外一个就是以单月33套排在第二位的中建壹品花香壹号,要说这项目之前在丰台好像也没有那么显眼,但是随着好房子政策的落地实施并有收紧态势后,花香壹号的优势就逐步显现出来了,首先就是价格5.4万的网签成交均价给了很多曾经想在丰台上车,但苦于预算不够的朋友更多的买房机会,其次项目产品的得房率做的很不错,全盘的得房率最终能在90-95%之间,他们家阳台的进深都要比区域内其他家的多上30公分,再有项目实体样板间以及园林会所的实景呈现,给犹豫的买房人吃了颗定心丸主打一个所见即所得,同时这项目是北京在售新盘中为数不多的能够在社区门口无缝对接市政公园的新盘,我盘了一下五个手指头应该够数,最后花香壹号拥有让刚需刚改客户不能拒绝的中小套型产品,88平米的三居做了南北通透并且配了落地窗,这些都是在非好房子时代想都不敢想的,综合以上这些因素就造成了最近几个月花香壹号的网签跟开了挂一样的向上飙升,目前总网签量显示出来的已经达到了63%,如果在算上滞后没显出来的估计能过70%了,所以如果您在丰台有改善换房需求且对中小套型有意的朋友花香壹号的产品您必须去看看。
接下来是土地市场上周首开底价拿下了呼家楼地块楼面价在8.1万左右,这块地面积不大位置挺好大概率是大面积的豪宅产品跟咱们多数人也没啥关系,丰台岳各庄地块被城建+住总+建工的联合体低价拿下了楼面价约为5.03万,这块地整体来说还算不错唯一尴尬的是离地铁远了点。

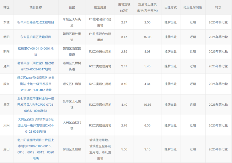
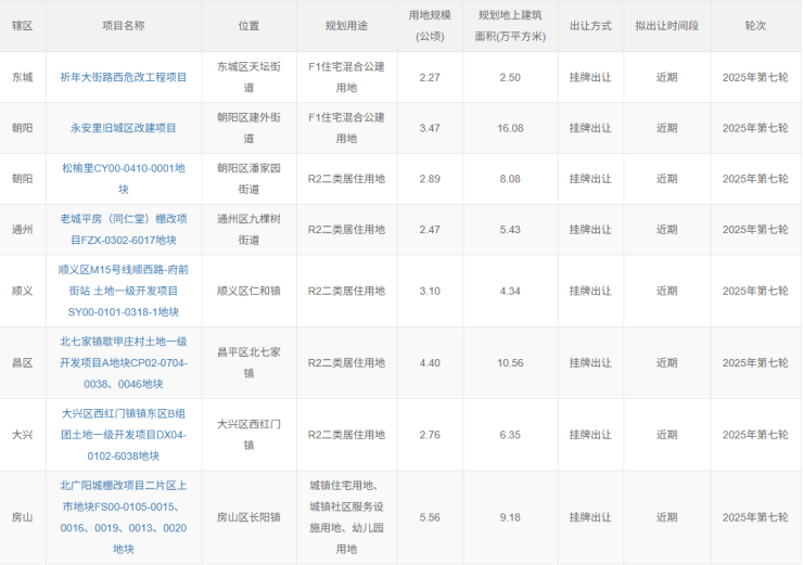
与此同时北京七轮次的地块在规自委页面挂出来了,一共八块地咱们挨个来说,东城祈年大街危改地块在天坛公园北侧算是紧挨着,边上就是地铁7号线的桥湾站,位置能算的上核心中的核心了,将来要不出个大面积段的豪宅产品都对不起这地段,永安里旧城改造地块紧挨着地铁1号线永安里站将来也会是大面积的改善产品,周边新房不多以老旧社区为主,光华里的二手房的成交价格在6.88万左右,朝阳松榆里地块紧挨着14号线北工大西门站,同样周边新房产品不多也是老旧社区居多,松榆东里的成交价在3.6-4.2万之间,西南方向分钟寺之前售卖的三个新盘网签价格在10.6万左右,通州老城棚改地块在地铁1号线九棵树向南600多米左右也是个临铁盘,周边有云璟揽阅、花语璟云等近期新开盘的项目,其中云璟揽阅的网签价格在5.8-6万之间,户型以刚需刚改产品为主您可以参考一下,顺义府前街地块在15线石门站西南方向也是临铁盘,南边两个新盘项目龙湖御湖境已经交房了,二手房的成交价格在3.6-3.7万左右以大户型产品为主,另外一个芳华里主打88-132平米的中小套型产品网签价格是3.91万,这就是这个区域目前的价格成交情况。昌平歇甲地块终于上线了,西边有17号线北段天通苑东站南边临着奶西村,之前这个区域里的新房基本都是大户型改善产品,网签价格便宜的8万贵的9万,大兴西红门又一块新地上线了位置在橡树湾的南侧,整体来说位置还算不错既没临着五环又没靠高速,将来可能还会离19号线的站口更近一些,目前区域内新房的网签成交价格在6.1-6.2万左右,不过近期橡树湾交房的已经有二手房出货了我看价格有5万成交的。最后是房山广阳城棚改地块,这块地同样是临铁盘距离广阳城地铁站更近,周边新房网签价格3.73万,二手房成交价格在2.8万左右。总的来说七轮次的供地不管是刚需、改善、还是豪宅都是位置相对不错的临铁盘,这盘大菜上的是相当的硬呀,对于购房人来说是好事,至于买不买账就等待时间来检验了吧。

好了各位咱们下期见。
声明:本文由入驻焦点开放平台的作者撰写,除焦点官方账号外,观点仅代表作者本人,不代表焦点立场。







