盘狠话不多,靠网签说话!2024年开盘的项目卖的如何?
扫描到手机,新闻随时看
扫一扫,用手机看文章
更加方便分享给朋友
本期看点:
1、 朝阳新盘打响24年开盘第一枪有地铁有人大附您觉得行吗?
2、 盘狠话不多不服就是“签”我大昌平的购买了真不是盖的!
3、 2月土地上架5宗海淀新地即将出货
来各位咱们接着来看上周的京楼市场。
上周朝阳十八里店的新盘朝央和煦打响了2024年开盘的第一枪,十八里店这地方之前我去的时候,最直观的感觉可以用破破烂烂来形容,而随着近两年房企的进驻城市界面已经开始发生改变。
前有金隅的一二三期,现有保利的朝阳和煦,让曾经那个看起来像城乡结合部的地方,现在看起来已经有了点城市气息。
地铁17号线的开通和人大附的规划建设,补足了区域内交通出行和教育的短板,同时未来区域内还将有多块住宅用地放出,还会有更多的开发商进驻开发,也许再过个5-10年,十八里店这地方也会变成一个让您羡慕的地方,最终朝央和煦给出的开盘结果是29.7亿,272套。
虽然说我觉得会有点水分吧,但我觉得项目卖的应该不会太差,从价格来看一二层的房源比较便宜,最低的6.9万左右,可能也是因为低楼层的不太好卖,开发商索性就把价格做低,从而达到以价换量的目的,从三层往上价格直接就到了8万。
从产品上来说,别看项目有高楼层的房源,但得房率做的是真不含糊,两部电梯照样把得房率做到了80%以上。这一点我给保利点赞。装标来说我更喜欢121平小户型,虽然说大户型的装标更高,但颜色略显老气,可能岁数大点的客户会喜欢,之前业务员就跟我说这次基本没什么优惠,我猜可能也跟利润不高有关系,那至于最终卖的怎么样呢?到时候咱们看网签就知道了。
说到网签数据就不得不提一下咱大昌平,别管现在市场怎么样网签数据照样能签的动,除了海淀以外真的是没有人能跟他称大哥了,昌平新城的建发观堂府上周的网签数据真的是惊到我了,开盘11天网签了102套,试问市面上能有几个项目敢拿网签说事儿的,真的是盘狠话不多不服就是“签”。
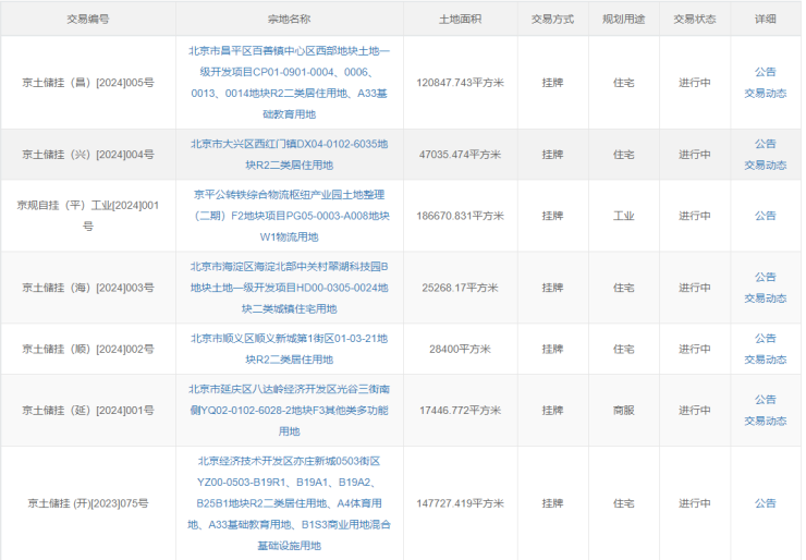
最后截止到上周,24年京楼2月土地待拍地块来到了5宗:
分别是海淀翠湖科技园地块,这块地离当年的限竞房翠湖三杰不太远还是挺值得期待一下的;
顺义新城1街区地块就在龙湖湖御境南边隔了一条街,这个地方城市界面比较完善,配套也算全,之前龙湖卖的还算不错,但介于目前的市场情况再拍出来能不能好卖就不好说了;
西红门地块就不多说了,去年红的发紫,这回又上新了;
昌平百善镇地块靠近北六环,在中央财经大学沙河校区的东边,距离昌平线沙河高教园大概1.7公里左右,周边在售的有梧桐星宸;
亦庄新城地块在润枫领尚的南边,距离地铁17号线北神树站也就300多米,妥妥的临铁盘,地块内有小一半的商业混合用地,不过就冲他临铁这一项也还是值得去关注下的。

好了各位咱们下期见。
声明:本文由入驻焦点开放平台的作者撰写,除焦点官方账号外,观点仅代表作者本人,不代表焦点立场。







