13宗!北京四批次拟供应地块出炉,海淀有地!
扫描到手机,新闻随时看
扫一扫,用手机看文章
更加方便分享给朋友
目前北京三批次供应地块还没拍完,
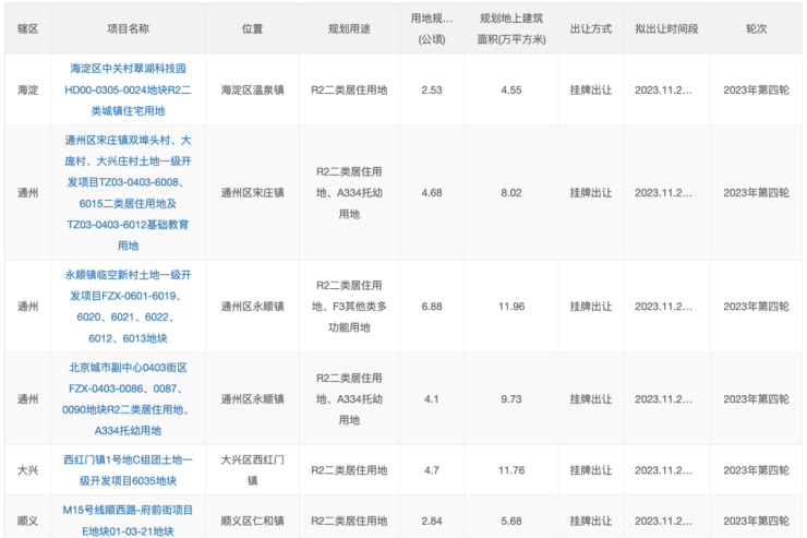
四批次拟供应清单就来了!共13宗地块。
其中海淀1宗!这也是四批次中唯一供应的城区地块。
另外12宗全部位于郊区,顺义4宗,通州3宗,昌平2宗,大兴、亦庄、房山各1宗。
点击放大可查看



这些项目将最晚于2024年2月28日前供应。
海淀的地终于被盼来了,不过这次来的不是永丰南,而是温泉镇翠湖科技园地块。
海淀中关村翠湖科技园0024地块

这块地位置在海淀北部山后区域,往北2公里以外是地铁16号线稻香湖路、屯佃站点。
地块向东500米左右有北京一零一中(温泉校区)、中关村第一小学(科学城分校)等教育配套。
向西1公里左右是华为北研所,另外周边还有中国人寿科技园、创客小镇、中关村温泉科技园等产业园区。

项目用地面积约2.53公顷,建筑规模约4.55万㎡,容积率1.8。
东南方向不到1公里是曾经的“翠湖三杰”;
紫郡兰园、山屿湖和翡翠云图三个限竞房项目,当时销售均价在5.3万/平米。
此次新地块据说指导价是8.5万/平米,并且可能100%现房销售。目测这块地将来能出3-400套房源。
如果全部现房那拍完地大家也得再等几年了...
从规划图看,这一片还有不少住宅用地和商服设施用地。

想在海淀上车的小伙伴,可以等等看,毕竟永丰南还有地,条件看着还更好些。
昌平生命科学园三期及北四村F地块
昌平四批次拟供应2块地,一宗在史各庄街道,生命科学园三期范围内;一宗在沙河高教园。
生命科学园三期F地块,在京藏高速及京新高速之间;
地块1公里左右,有规划中的19号线北延生命谷站,不过目测落地会比较久远。


整个北四村F组团共拟入市6宗,有3块住宅用地。
0025地块,容积率2.8,占地面积4.02公顷,建筑规模11.26万平方米;
0026地块,容积率2.6,占地面积2公顷,建筑规模5.2万平米;
0056地块,容积率2.6,占地3.33公顷,建筑规模8.66万平米;
0037地块,F3多功能用地;0057地块,A33基础教育用地,0058是A8文化设施用地。
这次率先拿出0056住宅用地,搭配0057教育用地、0058文化设施用地。

京北又要卷起来了,昌平近两年供应不少,前浪还没去化完,后浪又要扑上来了,大家可以好好挑一挑!
大兴西红门6035地块
西红门算是目前大兴头牌板块了,这次又拿出一宗新地。


位置和大家应该比较熟悉了,京开高速以东,区域组团内有橡树湾和中建玖玥府。
自北京四中+皇城根小学官宣引入后,再叠加规划19号线南延西红门东站点的加持,这个板块得到不少刚需伙伴的倾慕。
西红门东板块典型的先规划后发展,可以看到板块内还有不少住宅用地。
这次供出的6035地块,总用地规模4.7公顷,规划地上建筑面积11.76万平,规模不小,又能出不少房源。
加上在售的两个盘,可选项同样很多。
想在郊区上车新房的小伙伴今明两年完全不用愁,多比较多看看,任君挑选别被拿捏!
大家还对哪块地感兴趣?评论区留言,改天安排!
声明:本文由入驻焦点开放平台的作者撰写,除焦点官方账号外,观点仅代表作者本人,不代表焦点立场。







