2023北京土拍收官!61宗地!1741个亿!
扫描到手机,新闻随时看
扫一扫,用手机看文章
更加方便分享给朋友
2023年,1741个小目标成功进账!
随着刚刚石景山、顺义两宗地块成功出让,今年北京的土拍也就宣告收官了。
NO.1
石景山北辛安667、646等地块

这块地由中海以56.1亿元底价竞得,住宅楼面价约4.48万元/㎡。
该地块位于石景山区北辛安板块,中海寰宇天下天赋北侧。销售指导价7.8万/平米。
地块距离6号线金安桥站900米左右,北边就是喜隆多,西北700米就是金安寰宇荟,东北1000米是京西大悦城,配套情况很不错。

该地块组团共由6个小地块组成,配建较多,且总价在56.1亿,对开发商的资金实力及开发实力要求都很高。

不过石景山应该是中海的“舒适圈”了,期待产品多整点黑科技!
顺义新城0601、0603等地块

这块地由保利以19.9亿元底价拿下,住宅楼面价1.93万/㎡。
该地块 位于顺义区双丰街区道,属于马坡镇。销售指导价4.3万/平米。
周边有马坡新城城市森林公园、顺义奥林匹克水上公园、首师大附属顺义实验小学向阳分校等。

地块用地规模约7万平,由2宗居住用地和1宗托幼用地组成。
其中的居住用地,容积率仅1.2/1.7,限高18米/36米,估计是洋房+别墅的组合了。


至此,北京2023年的土拍也就正式收官了。
NO.2
今年全年27场土拍,北京共成交住宅用地61宗,总成交金额约1741.3亿,总建筑面积约581.2万㎡,与上一年基本持平。
供地的14个行政区当中:
大兴区11宗为之最;
昌平区、丰台区8宗持平;朝阳区6宗;
房山区、通州区、顺义区、石景山区各5宗;
海淀区、亦庄开发区各2宗;
远郊区平谷、延庆、怀柔、密云各1宗;
根据中指研究院数据,从成交总价来统计,丰台区以348.2亿元位列第一,总规划建面79.6万㎡;
大兴区316.7亿元位列第二,总规划建面105.6万㎡;
昌平区264.3亿元位列第三,总规划建面106.8万㎡。
拿地企业当中,央国企拿地占比约84%,民企占比约13%;并且不少地方新面孔参与其中。
这也意味着在行业普遍下行的背景下,北京市场仍具有较好的韧性。
NO.3
在节后24年1月4号,马上将有4宗地块开拍。
1月4日待拍地块

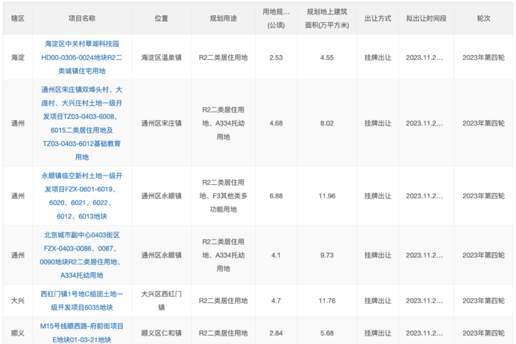
并且新一批次 拟供应的13宗地块 清单也已出炉。
这些项目将最晚于2024年2月28日前供应。
四批次拟供应清单 点击放大可查看



2024京楼壹号将持续为大家追踪!感谢关注。
声明:本文由入驻焦点开放平台的作者撰写,除焦点官方账号外,观点仅代表作者本人,不代表焦点立场。







