海淀北五环"上新",京楼看涨?——树村,别闹!
扫描到手机,新闻随时看
扫一扫,用手机看文章
更加方便分享给朋友
1
北五环"上新"地块,
又有人自嗨了~
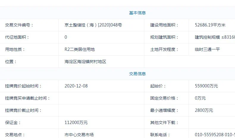
昨天,北京土拍官网——规自委再次放出海淀去两宗不限价地块——上地树村,起始楼面价已经达到6.7万/平米。

由于该地块的标签:不限价纯商品、海淀、北五环、上地软件园等,起始楼面价达6.7万/平米,未来售价或达12万+/平米。
不是吹牛
(咨询购房专家买房问题请添加小助理微信号:goufang02 有问必答!)

如图所示,两宗地块北侧就是大名鼎鼎的后厂村——无数码圣的聚集之地。
想当年,北五环外的西北旺豪宅——西山壹号院,2010年开盘价4万/平米之时,有人惊呼开发商"豪赌"。
5年之后,西山壹号院开盘价已经达到6万/平米;而又是5年之后,二手房均价达到10万/平米。
孙宏斌,赌赢了。
2
码农的购买力
不可小觑
互联网工作者,不仅是码农,有着共同的特点——会过日子。
大多是理工背景出身,踏实务实的工作以及生活态度,成为了"格子衫大军"的共性。
(咨询购房专家买房问题请添加小助理微信号:goufang02 有问必答!)
消费不舍得,
投资真舍得。
作为国人较踏实的投资品——房,也是互联网人群的喜爱,尤其是高净值互联网工作者。
于是,码农区域的优质房源,成为了高净值人群"存钱"的较好去处。
远看西山壹号院和万科五矿如园,近看海淀幸福里和西山锦绣府,五环外软件园区域的房产,甚至比五环内的新盘项目还抢手。
树村的未来可期
树村两宗地块位置,相比上述几个在售新盘,地段可谓更加优越——紧邻五环。
面粉6.7万/平米
面包12万/平米??
考虑到2020年北京土拍市场的火爆,再考虑到今年新房市场的不断升温。
树村这两个纯商品地块,未来售价达到12万+,不是问题。
再高点呢?没戏!
3
分钟寺三杰,较高12万
较近我们得到消息:京楼单价地王——分钟寺三杰之一的东叁金茂府,销售价格不会超过12万/平米。
面粉76168元/平米
面包12万/平米
别忘了,那是三环。
三环尚且12万
五环,差不多就行了。
相信会有读者质疑笔者有关树村地块的猜测,是不是信口开河?别急,听我们慢慢道来。
排名前列、房住不炒,依然不松。
“十四五”规划,首次把“房住不炒”写入了文件。作为国家方针型会议的纲领,可见国家对房价稳定调控的态度。

不论是从土地竞拍层面,还是新房、二手房价格层面,如果有房价大涨的趋势出现,"一抽屉调控手段"就会马上推出。
第二、新房红线——12万难过。
2020年,北京纯商品新房入市的项目不少。
但是,不论是四季青双雄(颐和金茂府和香山壹号院),亦或是中海甲叁号院,开盘价格都没有超过12万/平米。
12万/平米
就是一条价格红线
上文讲述,东叁金茂府——三环的豪宅都要牢牢遵守12万/平米这条红线,那北五环的树村,更没理由去挑战它了。
第三、没有杠杆,大涨没戏
纵观北京从2017年317调控至今的四年之内,"认房认贷"起到的作用较大。
"限制住了杠杆,首付被迫增加"的方法,牢牢地按住了京楼价格上涨的一切可能。所以,不论土拍怎么热闹,新盘价格些许升高,这些都不具备构成楼市大涨的因素。
(咨询购房专家买房问题请添加小助理微信号:goufang02 有问必答!)
4
别忘了,限竞房已经回归。
12月下旬树村地块土拍的开胃菜,就是昌平区朱辛庄和朝阳区金盏的2宗限竞房土地的竞拍。
限竞房的回归已经是一种趋势,抑制楼市价格的手段怎能少了它的出现?
综上所述,别看树村地块目前成为了楼市媒体普遍吹捧的新闻。
但是细细品味国家方针以及京楼相关政策,明年乃至未来一段时间,北京楼市稳定的趋势,长期不变。
房住不炒,树村不炒。
声明:本文由入驻焦点开放平台的作者撰写,除焦点官方账号外,观点仅代表作者本人,不代表焦点立场。







