技术案例丨你需要了解的超高层建筑——“中国尊”里的几个暖通设计重点
扫描到手机,新闻随时看
扫一扫,用手机看文章
更加方便分享给朋友

项目概况
“中国尊”是北京市较高的地标建筑,作为北京排名前列高度的摩天大楼,其外形设计包含了樽、竹编、孔明灯、城门等传统元素。集写字楼、会议、商业等多种配套服务功能于一体。用地面积11478平方米,总建筑面积43.7万平方米,其中地上35万平方米,地下8.7万平方米,建筑总高528米,建筑层数地上108层、地下7层(不含夹层),可容纳1.2万人办公,为中信集团总部大楼。
“中国尊”由北京中信和业有限公司投资,预计总投资达240亿元。

冷热源设计
“中国尊”冷源采用冰蓄冷系统,空调热源由市政热网提供。
冰蓄冷冷源系统利用夜间电网低谷电力全力制冷并以冰的形式蓄存,在白天用电高峰时将冰融化为大楼空调提供冷量,从而达到转移高峰电力负荷的移峰填谷作用。冰蓄冷技术提高了电厂一次能源利用效率,具有良好的社会效益和经济效益。
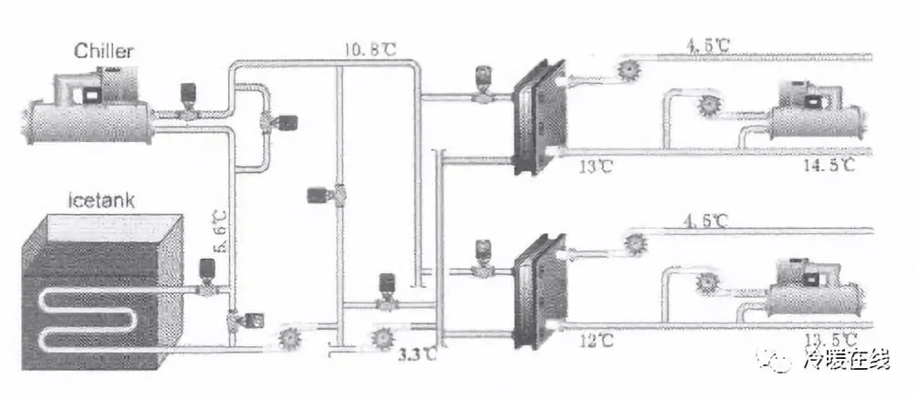
“中国尊”冰蓄冷系统由双工况冷水机组、蓄冰槽、板式换热器、乙二醇泵、基载冷水机组、冷冻水泵、冷却塔、冷却水泵的设备和自动控制系统等组成。该项目共计采用4台1650RT的永磁同步冰蓄冷双工况离心机组、2台1000RT的直流变频离心机组和2台500RT的直流变频离心机组。“中国尊”采用主机上游、冰槽下游的串联冰蓄冷冷源系统,充分利用融冷的优势,可以为末端提供4.5℃的空调冷水,为高区多级换热提供了有利条件。

冰蓄冷系统简图
· 低温送风
低温送水同时可实现末端低温送风,使系统除湿能力大大提高,提高了热舒适性。实验研究表明在较低的湿度下,人体感觉更为凉快和舒适。空调品质更佳。
· 减小装机容量
采用冰蓄冷系统,大幅减小了系统冷冻机的装机容量,仅为常规配置的70%。冷冻机的减少意味着系统整体配电功率及配套冷却塔容量的减少。由于本项目没有裙楼,冷却塔全部放置于5层设备层,如果采用常规系统,设备层面积不足以布置全部冷却塔,采用冰蓄冷后优质解决此问题。同时设备层对噪音较为敏感,冷却塔装机容量的减少也减小了运行噪音,降低了噪音处理难度。
· 冷冻水供回水大温差设计
将基载冷水机组和冰蓄冷系统串联运行,14.5℃(低区13.5℃)的冷冻水回水先部分经过基载冷水机组制冷后再经过冰蓄冷降温至4.5℃,供回水温差达10℃(低区9℃),远远高于常规系统5℃温差,大幅减小冷冻水管和送回风管的规格尺寸,减少了系统的输送能耗,节省了大量的有效建筑空间。
· 经济效益显著
经测算,冰蓄冷空调比常规空调每年转移高峰电量约300万kWh,节省运行电费约400万元。本系统设计了冷却塔自然冷却供冷系统。在过渡季节或冬季,从冷却塔冷却后的冷却水通过板换换热后直接向末端供冷,无需开启冷水机组,节约电能,节省电费。
制冷机房设计
冰蓄冷系统机房总面积六千多平方米,位于-35m的大楼较深处,大底板上的地下七层,这也是目前国内较深的制冷机房。为了兼顾大楼的结构稳定性和节能性,大楼大底板呈现中间厚、两侧薄的阶梯状,受此影响,位于大底板上的冰蓄冷机房净高分为2.4m、4.1m、6.1m三个部分。冷水机组、板式换热器等设备大约高3m左右,冰蓄冷系统主管直径基本都接近甚至超过1m,所以只有层高6.1的部分能够满足机房布置需求。
“中国尊”冷却塔位于5层设备层,为半封闭结构,相比常规的室外环境散热条件较差。与相邻建筑距离较近,对噪音要求较高。选型冷却塔具有横出风、可重叠、低噪音、大风量的特点,能较好地解决本项目的实际问题。
“中国尊”蓄冰槽位于地下七层西侧,为了有效利用建筑空间,冰槽形状不规则,空间极为紧张,盘管布置困难。选型采用了模块化单个、双拼和三拼组合的模式,双层叠放,各型号阻力相等,优质解决布置问题。
制冷机房设计
标准层管道示意图
办公层的幕墙周边区为风机盘管系统,内区为带末端装置的变风量空调系统。本项目标准层外区采用窗边风机盘管,主要用于消除距离幕墙1.5m范围内的冷热负荷;内区采用带末端的变风量空调系统。主要用于消除内区热湿负荷,满足室内人员新风需求。控制系统通过深化室内温度测控点位,实现内外区负荷的相对独立控制。根据内外区的冷热状态分区域自动变更温度设定值,防止内外区冷热干涉、额外能耗的增加。
标准楼层变风量系统采用环形风管设计,依据负荷分布情况在环形风管上深化设计电动切断阀,可实现楼层各区域负荷的整合和切分控制。
环形风管切分控制主要可实现以下功能:
分区实现变静压和总风量控制功能
分区实现变送风温度控制
分区实现不同时段(加班)使用
低负荷和过渡季实现单台机组变频节能运行
“中国尊”较不利的情况是送风温度达到9℃,室温为26℃。温差为17℃。普通风口在这种情况下会产生结露效果。长久以后会有水滴滴落。为避免此类情况发生,本项目采用风口优化了叶片,采用引导风向的喷漆处理技术,使出口冷风完全包裹整个送风口。从而避免低温风口与热空气的接触,防止结露的产生。
来源:互联网及文献
中国尊的呼吸系统 “中国尊”空调系统综述
中国尊的心脏——冰蓄冷冷源系统设计综述
空调智慧节能控制技术在“中国尊”工程中的应用
版权归原设计者所有,如有意见,请与我们联系
话
题
互
动
往期精彩推荐:
技术案例丨新时期高层建筑暖通设计创新研究
技术案例丨建筑设计与各专业配合的经验总结与分析
技术案例丨浅谈暖通设计中存在的问题及改善对策
声明:本文由入驻焦点开放平台的作者撰写,除焦点官方账号外,观点仅代表作者本人,不代表焦点立场。







