刚刚,北京两宗地块拍出!26宗新地已在路上!
扫描到手机,新闻随时看
扫一扫,用手机看文章
更加方便分享给朋友
刚刚,北京两宗地块拍出!
这两块地分别位于石景山、房山地区,且均只有一手报价,最终底价成交了。
9月、10月北京土地市场将再度迎来一波供应高潮。
今天给大家捋捋已经上架及即将上架的新地情况!
NO.01
今天底价成交的2宗

石景山新首钢014、018等地块
北京首怡科新置业有限公司(首钢+香港置地+招商联合体)底价拿下,成交价格52.5亿,楼面价约4.21万/平米;
这块地在首钢会展中心旁边,东侧就是地铁11号线北辛安站;

地块一街之隔即是中海寰宇天下,不远处还有在售新盘中海长安誉。

新地块总用地面积约6.84万平米,建筑控制规模约19.14万平米,其中住宅部分占12.47万平米。
将来项目销售指导价7.8万元/㎡(浮动±8%)。
不远处的中海长安誉,销售指导价7.58万/平米,今年3月项目开盘,卖的很不错。
不过近期京西入市的新房不少,像中海学府里、璟山和煦都做了小户型,市场还是非常卷的。
房山阎村0077地块
北京巨燕置业有限公司底价拿下,成交价格12亿,楼面价约1.15万/平米;
这块地位置在西六环外,距离房山线阎村站约1.1公里左右;

地块占地面积约6.98万平,建面约10.48万平,容积率1.5,控高24米。

项目销售指导价3.7万/平,上下浮动8%。目前附近二手挂牌价3万+。
这块地比较适合本地购房客户。
NO.02
已上架近期待拍的7宗

表中前6块地的具体情况,前几天已经给大家说过了。
今天不再重述,放个复习链接自行查看。👉北京8宗新地块上架!上车四环机会即将增加
新转正的丰台北宫镇A05-1、A06、A06-1地块

这块地位置在西五至六环之间,邻近北宫桥,东侧约3公里左右是2021年供地熙悦晴翠。

新地块土地面积100648.766㎡,建筑规模≤110714㎡,容积率1.1,控高12米;
期房销售指导价6.4万/平,现房6.6万/平(浮动10%)。


起始价33.8亿元,上限价格38.87亿元;触及上限后竞报“现房销售”面积1000平起;
现房面积上限2.2万平方米,再次触及上限后摇号确定最终竞得人。
之前专门给大家讲过,因为这片区域位置比较远,有河天然屏障相隔,发展也比较缓慢。
人流量不多,所以房子也不太好卖。
新地块附近的熙悦晴翠成交均价约6.3万/平,21年开盘,目前网签去化率不足3成。
还是比较难的,这次不知哪位勇者愿意前去尝试了。
NO.03
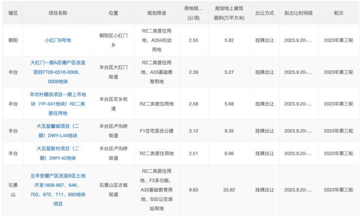
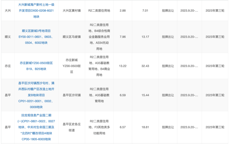
三批次拟供应的19宗
二批次供应的地块还没拍完,三批次新地已经出炉。
9月20号,规资委官网挂出三批次拟供应清单,共19宗地块。
这些项目将最晚于11月20日前组织发布出让公告。




从地块分布来看,19宗商品住宅用地中位于副中心和平原多点地区的有11宗,土地面积约59公顷,占比59%;
位于中心城区的有6宗,土地面积约23公顷,占比23%;
此外,生态涵养区在本轮次也有2宗新增供地,土地面积约18公顷,占比18%。
具体来看:
丰台区有四宗地供应;
昌平、房山、大兴、临空经济区(大兴)均有两宗地供应;
朝阳、通州、石景山、顺义、亦庄、怀柔、门头沟各有一宗地供应。
大家可能发现了!海淀没地!说好的永丰南这次并没有现身!
不过比较值得期待的朱辛庄这次即将上新货了;没抢到越秀星樾和大华启宸府的同学,还有机会。
朱辛庄0022、0027地块


地块紧挨着越秀星樾,距离地铁朱辛庄站不到1KM。
这个位置的交通、产业、生活配套不用多说,越秀星樾和大华启宸府的热销,也说明了一切!
想在京北上车的朋友,这次盯紧了。
以上是接下来北京即将出炉的新地,大家对哪里比较感兴趣?欢迎评论区留言,改天分区仔细说说~
声明:本文由入驻焦点开放平台的作者撰写,除焦点官方账号外,观点仅代表作者本人,不代表焦点立场。







